Hy hữu: Đột quỵ, liệt nửa người do bị ong đốt
Trong khi hái rau ngoài vườn, người phụ nữ 58 tuổi bị ong đốt. Sau đó, bệnh nhân bị liệt, méo miệng và co giật nửa người trái.
Theo thông tin từ Trung tâm Đột quỵ – Bệnh viện Đa khoa tỉnh Phú Thọ vừa tiếp nhận trường hợp bà H.T.T (58 tuổi, ở Thị Xã Phú Thọ) với tiền sử khỏe mạnh, trong gia đình không có ai bị đột quỵ.
Trước khi nhập viện 7 giờ, bệnh nhân xuất hiện tình trạng yếu nửa người trái. Nghỉ ngơi tại nhà nhưng không đỡ, bà T. được gia đình đưa đến cơ sở y tế gần nhất sau đó được chuyển lên Bệnh viện Đa khoa tỉnh Phú Thọ cấp cứu và điều trị.
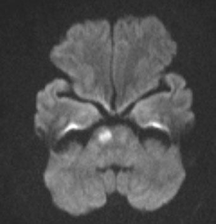
Hình ảnh Cộng hưởng từ sọ não (MRI) của người phụ nữ bị ong đốt: Với xung khuếch tán Diffusion cho kết quả nhồi máu cầu não phải (Ảnh: BVCC)
Tại thời điểm vào viện, bệnh nhân hoàn toàn tỉnh táo, liệt nửa người trái, chỉ số mạch, nhiệt độ, huyết áp, nhịp thở hoàn toàn bình thường. Tuy nhiên khi thăm khám, bệnh nhân có triệu chứng co giật nửa người liệt. Các bác sĩ đã khai thác thêm bệnh sử của bệnh nhân.
Theo đó, buổi sáng cùng ngày, bà T. ra vườn hái rau và vô tình bị ong đốt, sau đó đỡ và không để ý.
Vết đốt có hiện tượng đau, sưng và đỏ- là phản ứng tại chỗ sau khi bị ong đốt. Các bác sĩ Trung tâm Đột quỵ đã hội chẩn, xem xét các tài liệu và nhận thấy trường hợp đột quỵ do ong đốt trên thế giới là rất hiếm.
Nhận định ban đầu, các bác sĩ cho rằng, phản ứng qua trung gian miễn dịch của hệ thống đối với vết ong đốt gây ra co mạch và trạng thái tạo huyết khối kèm theo thiếu máu cục bộ dẫn đến đột quỵ.
Vì vậy bệnh nhân được tiến hành chụp cộng hưởng từ sọ não ghi nhận nhồi máu cầu não phải. Người bệnh sau đó đã được xử trí tích cực và chuyển sang giai đoạn tập phục hồi chức năng tại Trung tâm Đột quỵ Phú Thọ.
Theo BS Nguyễn Minh Đức – Trung tâm Đột quỵ, Bệnh viện Đa khoa tỉnh Phú Thọ, khi bị bất kỳ côn trùng nào đốt, người dân cần theo dõi sức khỏe sát sao và tới cơ sở y tế uy tín ngay khi có triệu chứng bất thường.
“Nhồi máu não là một biến chứng quan trọng mặc dù hiếm gặp của ong đốt, điều này phải được lưu ý ở những bệnh nhân có biểu hiện yếu tay chân sau khi bị ong đốt. Đặc biệt, nhận biết vấn đề kịp thời sẽ giúp chẩn đoán và điều trị sớm, giúp bệnh nhân hồi phục nhanh chóng”, BS Minh Đức khẳng định.
Xem thêm >>> Bệnh nhân hậu COVID-19 liệu có nên dùng thuốc dự phòng đột quỵ?
Nguồn: Bệnh viện Đa khoa tỉnh Phú Thọ
- Từ khóa:
- Đột quỵ
- liệt nửa người
- ong đốt
Tài xế đột quỵ khi lái xe, kịp tấp vào lề trước khi qua đời
Lên cơn đột quỵ khi đang điều khiển xe khách, nam tài xế vẫn cố gắng tấp xe vào lề để tránh tai nạn, trước khi lịm đi và tử vong sau đó.
Multimedia
Theo dõi trên:Video
Hẹp động mạch vành: Nguy hiểm thế nào và do đâu?
Hẹp động mạch vành là tình trạng lòng mạch nuôi tim bị thu hẹp, làm giảm lượng máu và oxy đến cơ tim. Nếu không được phát hiện, kiểm soát và điều trị kịp thời, bệnh có thể tiến triển âm thầm nhưng dẫn đến nhiều biến cố nguy hiểm như nhồi máu cơ tim, suy tim, rối loạn nhịp tim, thậm chí đột tử. Vậy nguyên nhân nào gây hẹp động mạch vành và những yếu tố nguy cơ nào cần đặc biệt cảnh giác?
Sống sót sau đột quỵ, làm gì để không bị lần 2?
Giới trẻ và đột quỵ: Khi lối sống hiện đại trở thành sát thủ âm thầm
Giải mã mối quan hệ nguy hiểm giữa đái tháo đường và đột quỵ
Phòng Tránh Đột Quỵ – Bắt Đầu Từ 5 Bài Tập Đơn Giản
Ngăn đột quỵ ngay từ phút đầu – Những điều nên biết
7 tình huống khiến đường huyết tăng vọt có thể bạn chưa biết















">
">
"> 
